技术前沿
高度游标卡尺
2017-09-01

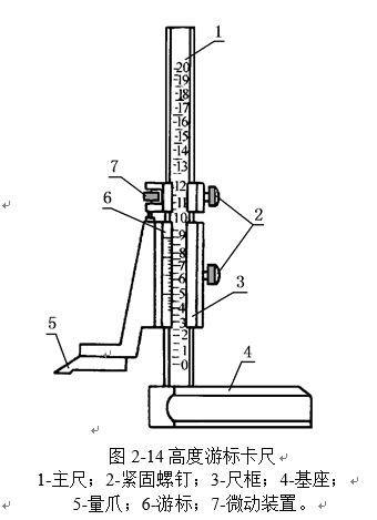
      高度游标卡尺如图2-14所示,用于测量零件的高度和精密划线。它的结构特点是用质量较大的基座4代替固定量爪5,而动的尺框3则通过横臂装有测量高度和划线用的量爪,量爪的测量面上镶有硬质合金,提高量爪使用寿命。高度游标卡尺的测量工作,应在平台上进行。当量爪的测量面与基座的底平面位于同一平面时,如在同一平台平面上,主尺1与游标6的零线相互对准。所以在测量高度时,量爪测量面的高度,就是被测量零件的高度尺寸,它的具体数值,与游标卡尺一样可在主尺(整数部分)和游标 (小数部分)上读出。应用高度游标卡尺划线时,调好划线高度,用紧固螺钉2把尺框锁紧后,也应在平台上进行先调整再进行划线。

      图2-15为高度游标卡尺的应用。

返回列表