网站公告:
2019-02-21 一手资料流出 三大细节看透高精度引伸计标定仪
2018-03-22 普天同创电子发票上线了,不用再苦苦等待纸质发票啦!
您好,欢迎访问普天同创!
登录
免费注册
购物车
收藏网站
产品检索
标准物质
新闻搜索
规程下载
证书下载
首页
普天同创
企业简介
企业理念
企业荣誉
发展历程
战略合作伙伴
普天同创(深圳)科技有限公司是一家专注于计量测试产品研究、开发、生产及销售...
产品中心
计量器具 实验室检定装置
其它非标仪器设备
实验室耗材
进口实验室仪器
胶体金检测卡系列
普天同创(深圳)科技有限公司是一家专注于计量测试产品研究、开发、生产及销售...
非标定制
非标仪器设备案例
联系我们定制
新闻资讯
公司动态
技术前沿
文化长廊
行业新闻
普天同创(深圳)科技有限公司是一家专注于计量测试产品研究、开发、生产及销售...
服务支持
服务流程
常见问题
规程下载
证书下载
留言反馈
使用指南
普天同创(深圳)科技有限公司是一家专注于计量测试产品研究、开发、生产及销售...
招贤纳士
招聘职位
职业规划
应聘流程
培训教育
员工风采
普天同创(深圳)科技有限公司是一家专注于计量测试产品研究、开发、生产及销售...
联系我们
联系方式
电子地图
普天同创(深圳)科技有限公司是一家专注于计量测试产品研究、开发、生产及销售...
个人中心
个人信息
我的订单
购物车
行业新闻
首页
> 新闻资讯
> 行业新闻
2020年第20号—106项推荐性国家标准和5项国家标准修改单
时间:2020-10-14
作者:标准化管理委员会
阅读:4887
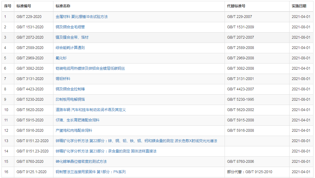
近日,国家市场监督管理局(国家标准化管理委员会)批准《金属材料 夏比摆锤冲击试验方法》等106项推荐性国家标准和5项国家标准修改单,并予以公布。
从公布的106项推荐性国家标准中,可知,多项标准涉及多项化学分析方法,如波长色散X射线荧光光谱法、固体进样直接法、紫外荧光光度法、气相色谱法、电感耦合等离子体原子发射光谱法等。
部分标准截图如下:
详情请点击链接查看:
点击链接
附件
文件下载:
106项推荐性国家标准、5项国家标准修改单
上一篇:第51届世界标准日
下一篇:《热电偶检定炉温度场测试技术规范》(征求意见稿)
返回
新闻资讯
>
公司动态
(325)
>
技术前沿
(863)
>
文化长廊
(595)
>
行业新闻
(804)
热门资讯
普天同创第七届技术等级评定大会圆满举行
2024-12-27
普天同创助力精密测量仪器提质焕新
2024-10-15
喜报!普天同创成功通过市工程技术研究中心认定!
2024-10-11
凝心聚力,逐梦前行 | 普天同创13周年生日快乐!
2024-10-10
普天动态 | 参加计量行业学术交流会,探索科技创新前沿
2023-09-20
直播预告 | 长度计量器具产品参数详解
2023-07-25
万众期待,全球瞩目——2023国际计量检测技术与设备博览会,我们相约上海,不见不散!
2023-05-18
直击展会 | CISILE 2023正在进行中
2023-05-11
定了!2023年世界计量日主题发布
2023-04-13
2023年普天同创股东大会暨内部技术等级评定颁奖典礼圆满结束!
2023-03-13
时光如梭,收获满满,祝福未来的我们。——刘可欣、李锦、田娟
2023-02-22
喜迎元宵,共庆团圆!普天同创发放元宵节福利
2023-02-03
新版《标准钢卷尺检定规程》正式实施,有这些变化你知道吗?
2022-11-15
普天快讯 | 公司开展计量仪器知识专题讲座
2022-08-15
产品推荐丨GWB-200JA型引伸计标定仪
2021-10-29
了解热门仪器,普天同创热销产品表
2020-10-01
友情链接:
国家标准样品网
菌种
中国标准物质网
官方微博
阿里旺铺
淘宝店铺
中国供应商店铺
常见问题
|
留言反馈
|
网站地图
Copyright © 2016-2019 普天同创(深圳)科技有限公司版权所有
粤ICP备17009314号
在线营销
live chat
购物车
点击咨询
400-8830-979
0755-23242702 4008830979