网站公告:
2019-02-21 一手资料流出 三大细节看透高精度引伸计标定仪
2018-03-22 普天同创电子发票上线了,不用再苦苦等待纸质发票啦!
您好,欢迎访问普天同创!
登录
免费注册
购物车
收藏网站
产品检索
标准物质
新闻搜索
规程下载
证书下载
首页
普天同创
企业简介
企业理念
企业荣誉
发展历程
战略合作伙伴
普天同创(深圳)科技有限公司是一家专注于计量测试产品研究、开发、生产及销售...
产品中心
计量器具 实验室检定装置
其它非标仪器设备
实验室耗材
进口实验室仪器
胶体金检测卡系列
普天同创(深圳)科技有限公司是一家专注于计量测试产品研究、开发、生产及销售...
非标定制
非标仪器设备案例
联系我们定制
新闻资讯
公司动态
技术前沿
文化长廊
行业新闻
普天同创(深圳)科技有限公司是一家专注于计量测试产品研究、开发、生产及销售...
服务支持
服务流程
常见问题
规程下载
证书下载
留言反馈
使用指南
普天同创(深圳)科技有限公司是一家专注于计量测试产品研究、开发、生产及销售...
招贤纳士
招聘职位
职业规划
应聘流程
培训教育
员工风采
普天同创(深圳)科技有限公司是一家专注于计量测试产品研究、开发、生产及销售...
联系我们
联系方式
电子地图
普天同创(深圳)科技有限公司是一家专注于计量测试产品研究、开发、生产及销售...
个人中心
个人信息
我的订单
购物车
行业新闻
首页
> 新闻资讯
> 行业新闻
涉及多种仪器的拟定项公示
时间:2020-04-30
作者:化工仪器网
阅读:5226
进入21世纪以后,我国的经济发展呈现出了突飞猛进的态势。时至今日,中国经济仍保持着稳定、快速的增长趋势,备受世界关注。而与经济快速发展向适应的,就是标准化进程的不断推进。
众所周知,标准化对于各行各业的发展来说,起着规范、引导、统一等作用,事关产品品质和操作规范等诸多方面,影响着产品流通、交易和消费者权益等各个环节。我国经济的快速发展,离不开国家、行业、团体对标准的重视。另一方面,经济、社会的发展,又要求我们继续对标准进行修订和制定。
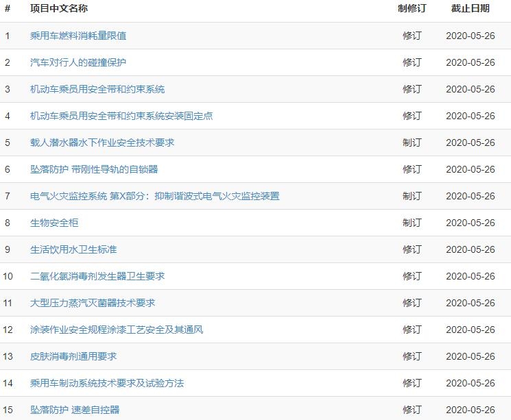
日前,全国标准信息公共服务平台公示了两批拟立项标准,一批为2020年第二季度修制订标准,包括《小型水轮机基本技术条件》等85项;一批为2020年第二批强标项目,包括《电气火灾监控系统 第X部分:抑制谐波式电气火灾监控装置》等16项。
这两批标准中,部分拟立项标准涉及了科学仪器设备,如《生物安全柜》、《二氧化氯消毒剂发生器卫生要求》、《大型压力蒸汽灭菌器技术要求》、《微束分析 电子探针显微分析(EPMA) 术语》、《微束分析 硫化物矿物的电子探针定量分析方法》、《微束分析 用于波谱和能谱分析的粉末试样制备方法》等。
以下是部分拟立项标准公示信息:
标准的修制订对我国的经济和社会发展起着重要的作用。对企业来说,标准能促使企业加强管理,重视创新,从而提高产品性能和品质,增强企业竞争力和品牌影响力。对于某些领域,如环保领域来说,标准能指导、规范污染监控、检测、分析的方式方法,提高检验检测精确性,有利于环保行业在科学的数据指导下,有针对性、有计划性的对污染进行监控及治理。
总之,不断完善标准化体系,加快标准体系的建设,将有利于充分发挥标准的作用,让各行各业受益。
资料来源:全国标准信息公共服务平台
上一篇:生态环境部征求5G基站辐射监测标准意见
下一篇:国家标准化管理委员会发布《关于进一步加强行业标准管理的指导意见》
返回
新闻资讯
>
公司动态
(329)
>
技术前沿
(863)
>
文化长廊
(595)
>
行业新闻
(804)
热门资讯
普天同创第七届技术等级评定大会圆满举行
2024-12-27
普天同创助力精密测量仪器提质焕新
2024-10-15
喜报!普天同创成功通过市工程技术研究中心认定!
2024-10-11
凝心聚力,逐梦前行 | 普天同创13周年生日快乐!
2024-10-10
普天动态 | 参加计量行业学术交流会,探索科技创新前沿
2023-09-20
直播预告 | 长度计量器具产品参数详解
2023-07-25
万众期待,全球瞩目——2023国际计量检测技术与设备博览会,我们相约上海,不见不散!
2023-05-18
直击展会 | CISILE 2023正在进行中
2023-05-11
定了!2023年世界计量日主题发布
2023-04-13
2023年普天同创股东大会暨内部技术等级评定颁奖典礼圆满结束!
2023-03-13
时光如梭,收获满满,祝福未来的我们。——刘可欣、李锦、田娟
2023-02-22
喜迎元宵,共庆团圆!普天同创发放元宵节福利
2023-02-03
新版《标准钢卷尺检定规程》正式实施,有这些变化你知道吗?
2022-11-15
普天快讯 | 公司开展计量仪器知识专题讲座
2022-08-15
产品推荐丨GWB-200JA型引伸计标定仪
2021-10-29
了解热门仪器,普天同创热销产品表
2020-10-01
友情链接:
标准物质网
爱采购
淘宝店铺
化工仪器网
常见问题
|
留言反馈
|
网站地图
Copyright © 2016-2019 普天同创(深圳)科技有限公司版权所有
粤ICP备17009314号
在线营销
live chat
购物车
点击咨询
400-8830-979
0755-23242702 4008830979